Product Summary
The M30800MC-192GP is a single-chip microcomputer. It is built using the high-performance silicon gate CMOS process using a M16C/60 Series CPU core and are packaged in a 100-pin plastic molded QFP. These single-chip microcomputers operate using sophisticated instructions featuring a high level of instruction efficiency. With 16M bytes of address space, they are capable of executing instructions at high speed. The M30800MC-192GP also features a built-in multiplier and DMAC, making them ideal for controlling office, communications, industrial equipment, and other high-speed processing applications. The M30800MC-192GP includes a wide range of products with different internal memory types and sizes and various package types. The applications of the M30800MC-192GP include Audio, cameras, office equipment, communications equipment, portable equipment, etc.
Parametrics
M30800MC-192GP absolute maximum ratings: (1)Supply voltage: -0.3V to 6.5V; (2)Analog supply voltage: -0.3V to 6.5V; (3)Input voltage: -0.3V to VCC+0.3V; (4)Output voltage: -0.3V to VCC+0.3V; (5)Power dissipation: 500mW; (6)Operating ambient temperature: -20 to 85℃; (7)Storage temperature: -65 to 150℃.
Features
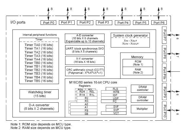
M30800MC-192GP features: (1)Memory capacity: ROM (See ROM expansion figure.) RAM 10/20 Kbytes; (2)Shortest instruction execution time: 50ns (f(XIN)=20MHz); (3)Supply voltage: 4.0 to 5.5V (f(XIN)=20MHz) Mask ROM and flash memory version 2.7 to 5.5V (f(XIN)=10MHz) Mask ROM and flash memory version; (4)Low power consumption: 45mA (M30800MC-XXXFP); (5)Interrupts: 29 internal and 8 external interrupt sources, 5 software interrupt sources; 7 levels (including key input interrupt); (6)Multifunction 16-bit timer: 5 output timers + 6 input timers; (7)Serial I/O: 5 channels for UART or clock synchronous; (8)DMAC: 4 channels (trigger: 31 sources); (9)DRAMC: Used for EDO, FP, CAS before RAS refresh, self-refresh; (10)A-D converter: 10 bits X 8 channels (Expandable up to 10 channels); (11)D-A converter: 8 bits X 2 channels; (12)CRC calculation circuit: 1 circuit; (13)X-Y converter: 1 circuit; (14)Watchdog timer: 1 line; (15)Programmable I/O: 87 lines; (16)Input port: 1 line (P85 shared with NMI pin); (17)Memory expansion: Available (16M bytes); (18)Chip select output: 4 lines; (19)Clock generating circuit: 2 built-in clock generation circuits.
Diagrams

(Hong Kong)






