Product Summary
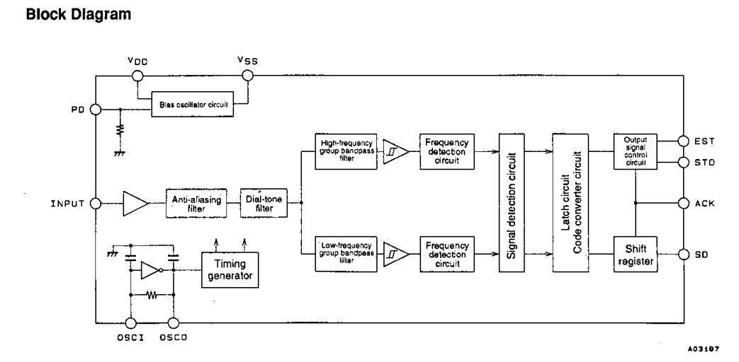
The C73881 is a DTMF receiver LSI. The device is suitable for telephone answering machines and other telephone products.
Parametrics
C73881 absolute maximum ratings: (1)maximum supply voltage, VDD max: -0.3 to 6.0V; (2)input voltage, VIN: -0.3 to VDD+0.3V; (3)input current, IIN: -10 to 10mA; (4)output voltage, VOUT: -0.3 to VDD+0.3V; (5)allowable power dissipation, PD max: 120mW; (6)operating temperature, Topr: -35 to 70℃; (7)storage temperature, Tstg: -50 to 125℃.
Features
C73881 features: (1)detects 16 DTMF signals; (2)includes on-chip all filters required in a DTMF recevier; (3)serial data output; (4)supports microprocessor controlled guard times; (5)wide operating power-supply voltage range: 2.7 to 5.5V; (6)supports a low power mode that allows current dissipation to be reduced.
Diagrams

(Hong Kong)






