Product Summary
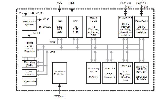
The MSP430F2232IDAR is an ultra-low-power microcontroller. It consists of several devices featuring different sets of peripherals targeted for various applications. The architecture, combined with five low-power modes is optimized to achieve extended battery life in portable measurement applications. The MSP430F2232IDAR features a powerful 16-bit RISC CPU, 16-bit registers, and constant generators that contribute to maximum code efficiency. The applications of the MSP430F2232IDAR are sensor systems that capture analog signals, convert them to digital values, and then process the data for display or for transmission to a host system.
Parametrics
MSP430F2232IDAR absolute maximum ratings: (1)Voltage applied at VCC to VSS:-0.3 V to 4.1 V; (2)Voltage applied to any pin:-0.3 V to VCC + 0.3 V; (3)Diode current at any device terminal:±2 mA; (4)Storage temperature: Unprogrammed device:-55℃ to 150℃, Programmed device:-55℃ to 150℃.
Features
MSP430F2232IDAR features: (1)Low Supply Voltage Range: 1.8 V to 3.6 V; (2)Ultra-Low Power Consumption; (3)Ultra-Fast Wake-Up From Standby Mode in Less Than 1 μs; (4)16-Bit RISC Architecture, 62.5-ns Instruction Cycle Time; (5)Internal Frequencies up to 16 MHz With Four Calibrated Frequencies to ±1%; (6)Internal Very-Low-Power Low-Frequency Oscillator; (7)32-kHz Crystal; (8)High-Frequency (HF) Crystal up to 16 MHz; (9)Resonator; (10)External Digital Clock Source; (11)External Resistor; (12)16-Bit Timer_A With Three Capture/Compare Registers; (13)16-Bit Timer_B With Three Capture/Compare Registers; (14)Universal Serial Communication Interface; (15)10-Bit 200-ksps Analog-to-Digital (A/D) Converter With Internal Reference, Sample-and-Hold, Autoscan, and Data Transfer Controller; (16)Brownout Detector; (17)Serial Onboard Programming, No External Programming Voltage Needed, Programmable Code Protection by Security Fuse; (18)Bootstrap Loader; (19)On-Chip Emulation Module.
Diagrams

| Image | Part No | Mfg | Description | ![]() |
Pricing (USD) |
Quantity | ||||||||||||
|---|---|---|---|---|---|---|---|---|---|---|---|---|---|---|---|---|---|---|
![]() |
![]() MSP430F2232IDAR |
![]() Texas Instruments |
![]() 16-bit Microcontrollers (MCU) 16-bit Ultra-Lo-Pwr Microcontroller |
![]() Data Sheet |
![]()
|
|
||||||||||||
| Image | Part No | Mfg | Description | ![]() |
Pricing (USD) |
Quantity | ||||||||||||
![]() |
![]() MSP4120 |
![]() Other |
![]() |
![]() Data Sheet |
![]() Negotiable |
|
||||||||||||
![]() |
![]() MSP4200 |
![]() Other |
![]() |
![]() Data Sheet |
![]() Negotiable |
|
||||||||||||
![]() |
![]() MSP430×11× |
![]() Other |
![]() |
![]() Data Sheet |
![]() Negotiable |
|
||||||||||||
![]() |
![]() MSP430×11×2 |
![]() Other |
![]() |
![]() Data Sheet |
![]() Negotiable |
|
||||||||||||
![]() |
![]() MSP430×12×2 |
![]() Other |
![]() |
![]() Data Sheet |
![]() Negotiable |
|
||||||||||||
![]() |
![]() MSP430×21×1 |
![]() Other |
![]() |
![]() Data Sheet |
![]() Negotiable |
|
||||||||||||
(Hong Kong)










