Product Summary
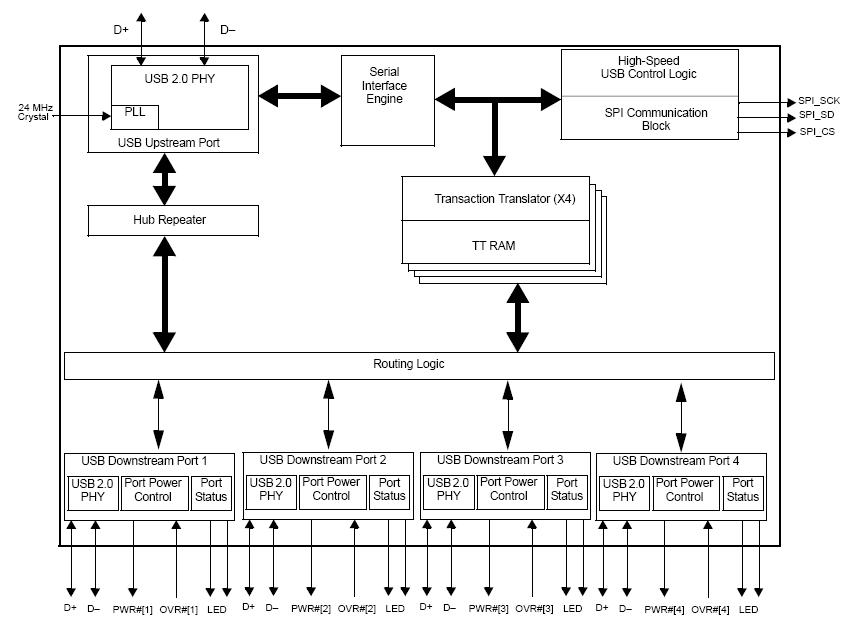
The CY7C65640-LFC is a TetraHub High-speed USB Hub Controller. It provides four downstream USB ports, with a Transaction Translator (TT) for each port, making it the highest performance hub possible. The CY7C65640-LFC incorporates one upstream and four downstream USB transceivers, a Serial Interface Engine (SIE), USB Hub Controller and Repeater, and Four Transaction Translators. It is suitable for standalone hubs, motherboard hubs, and monitor hub applications. TetraHub is a self-powered USB 2.0 device. Being a fixed function USB device, there is no risk or added engineering effort required for firmware development. The developer does not need to write any firmware for their design. The CY7C65640-LFC TetraHub USB 2.0 4 Port Hub Reference Design Kit provides all materials and documents needed to move rapidly into production. The reference design kit includes board schematics, bill of materials, Gerber files, Orcad files, key applications notes and product description. The applications of the CY7C65640-LFC include Standalone Hubs, Motherboard Hubs, Monitor Hub applications, External Personal Storage Drives, Port Replicators, Portable Drive, and Docking Stations.
Parametrics
CY7C65640-LFC absolute maximum ratings: (1)Storage Temperature:–65℃ to +150℃; (2)Ambient Temperature with Power Applied: 0℃ to +70℃; (3)Supply Voltage to Ground Potential: –0.5V to +4.0V; (4)DC Voltage Applied to Outputs in High Z State: –0.5V to VCC + 0.5V; (5)Power Dissipation (4 HS ports): 1.6W; (6)Static Discharge Voltage: >2000V; (7)Max. Output Sink Current per I/O: 10mA.
Features
CY7C65640-LFC features: (1)USB 2.0 hub; (2)4 downstream ports; (3)Multiple transaction translators - one per downstream port for maximum performance; (4)VID, PID and DID configured from external SPI EEPROM; (5)24-MHz external crystal; (6)Small package-Quad Flat Pack, No Leads (QFN); (7)Integrated upstream pull-up resistor; (8)Integrated downstream pull-down resistors for all downstream ports; (9)Integrated upstream and downstream series termination resistors; (10)Configurable with external SPI EEPROM.
Diagrams

![]() |
![]() CY7C006 |
![]() Other |
![]() |
![]() Data Sheet |
![]() Negotiable |
|
||||||||||||
![]() |
![]() CY7C006A |
![]() Other |
![]() |
![]() Data Sheet |
![]() Negotiable |
|
||||||||||||
![]() |
![]() CY7C006A-15AXC |
![]() Cypress Semiconductor |
![]() SRAM 5V 16Kx8 COM Dual Port SRAM |
![]() Data Sheet |
![]() Negotiable |
|
||||||||||||
![]() |
![]() CY7C006A-15AXCT |
![]() Cypress Semiconductor |
![]() SRAM 5V 16Kx8 COM Dual Port SRAM |
![]() Data Sheet |
![]() Negotiable |
|
||||||||||||
![]() |
![]() CY7C006A-20AC |
![]() |
![]() IC SRAM 16KX8 DUAL 64LQFP |
![]() Data Sheet |
![]() Negotiable |
|
||||||||||||
![]() |
![]() CY7C006A-20AXC |
![]() Cypress Semiconductor |
![]() SRAM 5V 16Kx8 COM Dual Port SRAM |
![]() Data Sheet |
![]()
|
|
||||||||||||
(Hong Kong)










