Product Summary
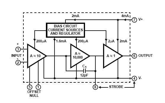
The CA3140 is a 4.5MHz, BiMOS Operational Amplifier with MOSFET Input/Bipolar Output. It combines the advantages of high voltage PMOS transistors with high voltage bipolar transistors on a single monolithic chip. The CA3140 features gate protected MOSFET (PMOS) transistors in the input circuit to provide very high input impedance, very low input current, and high speed performance. The applications of the CA3140 include Ground-Referenced Single Supply Amplifiers in Automobile and Portable Instrumentation, Sample and Hold Amplifiers, Long Duration Timers/Multivibrators, Photocurrent Instrumentation, Peak Detectors, Active Filters, Comparators, Interface in 5V TTL Systems and Other Low Supply Voltage Systems, All Standard Operational Amplifier Applications, Function Generators, Tone Controls, Power Supplies, Portable Instruments, Intrusion Alarm Systems.
Parametrics
CA3140 absolute maximum ratings: (1)DC Supply Voltage (Between V+ and V- Terminals): 36V; (2)Differential Mode Input Voltage: 8V; (3)DC Input Voltage: (V+ +8V) To (V- -0.5V); (4)Input Terminal Current: 1mA; (5)Output Short Circuit Duration∞ (Note 2): Indefinite; (6)Operating Conditions Temperature Range: -55℃ to 125℃.
Features
CA3140 features: (1)MOSFET Input Stage; (2)Very High Input Impedance (ZIN) -1.5TΩ(Typ); (3)Very Low Input Current (Il) -10pA (Typ) at 0.5V; (4)Wide Common Mode Input Voltage Range (VlCR) - Can be; (5)Swung 0.5V Below Negative Supply Voltage Rail Output Swing Complements Input Common Mode; (6)Range; (7)Directly Replaces Industry Type 741 in Most Applications; (8)Pb-Free Plus Anneal Available (RoHS Compliant).
Diagrams

| Image | Part No | Mfg | Description | ![]() |
Pricing (USD) |
Quantity | ||||||||||||
|---|---|---|---|---|---|---|---|---|---|---|---|---|---|---|---|---|---|---|
![]() |
![]() CA3140 |
![]() Other |
![]() |
![]() Data Sheet |
![]() Negotiable |
|
||||||||||||
![]() |
![]() CA3140A |
![]() Other |
![]() |
![]() Data Sheet |
![]() Negotiable |
|
||||||||||||
![]() |
![]() CA3140AMZ |
![]() Intersil |
![]() Operational Amplifiers - Op Amps OPAMP 4.5MHZ LWBIAS |
![]() Data Sheet |
![]()
|
|
||||||||||||
![]() |
![]() CA3140AMZ96 |
![]() |
![]() IC OP AMP 4.5MHZ BIMOS 8-SOIC |
![]() Data Sheet |
![]()
|
|
||||||||||||
![]() |
![]() CA3140E |
![]() |
![]() IC OPAMP DUAL BIMOS 4.5MHZ 8-DIP |
![]() Data Sheet |
![]() Negotiable |
|
||||||||||||
![]() |
![]() CA3140EZ |
![]() Intersil |
![]() Operational Amplifiers - Op Amps W/ANNEAL OPAMP 4.5MH ZLWBIAS0.04NA8PDIPML |
![]() Data Sheet |
![]()
|
|
||||||||||||
![]() |
![]() CA3140MZ |
![]() Intersil |
![]() Operational Amplifiers - Op Amps OPAMP 4.5MHZ LWBIAS |
![]() Data Sheet |
![]()
|
|
||||||||||||
![]() |
![]() CA3140AM96 |
![]() |
![]() IC OP AMP 4.5MHZ BIMOS 8-SOIC |
![]() Data Sheet |
![]() Negotiable |
|
||||||||||||
(Hong Kong)













