Product Summary
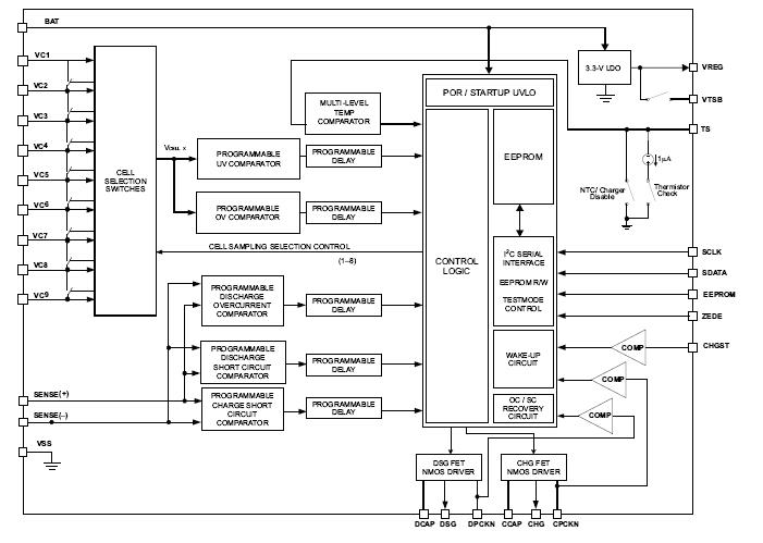
The BQ77908DBTR is a precision protector. It is a complete stand-alone, self-contained battery-protection and cell-balancing device intended for Li-ion/polymer battery packs. The applications of the BQ77908DBTR include Cordless Power Tools, Cordless Lawn Equipment, Electric Bikes, UPS, Medical Equipment, and Light Electric Vehicles (LEV).
Parametrics
BQ77908DBTR absolute maximum ratings: (1)DPCKN: –0.3 V to 50 V; (2)CPCKN: (BAT – 50) V to (BAT + 0.9) V; (3)Cell-to-cell differential, VCx to VC(x+1), x = 1 to 8: –0.3 V to 9 V; (4)SENSE(+): –3 V to 3 V; (5)SENSE(–): –0.3 V to 50 V; (6)Input voltage range, VIN SCLK, SDATA, ZEDE (2): –0.3 V to 7 V; (7)TS, CHGST(3) (4): –0.3 V to BAT V; (8)EEPROM: –0.3 V to 15 V; (9)Cell input VCx, x = 1–8: (9 – x)×5V; (10)Cell input VC9: –3 V to 3 V; (11)CHG referenced to CPCKN: – 0.3 V to 15 V; (12)Output voltage range, VO DSG referenced to VSS: –0.3 V to 15 V; (13)VTSB: –0.3 V to 5 V; (14)Current for cell balancing, ICB: 70mA; (15)Regulator current, IREG: 45mA; (16)Storage temperature range, Tstg: –65℃ to 150℃.
Features
BQ77908DBTR features: (1)4-, 5-, 6-, 7-, or 8 Series Cell Protection; (2)Individual Cell-Voltage Monitoring; (3)Low-Side NMOS FET Drive for Charge and Discharge Control; (4)Compatible With 1-mΩ Current-Sense Resistor; (5)Compatible With 1-mΩ Current-Sense Resistor; (6)Integrated 3.3-V Micro-Power LDO Regulator; (7)Low Supply Current; (8)38-Pin TSSOP Package; (9)Internal 50-mA Automatic Cell Balancing.
Diagrams

| Image | Part No | Mfg | Description | ![]() |
Pricing (USD) |
Quantity | ||||||||||||
|---|---|---|---|---|---|---|---|---|---|---|---|---|---|---|---|---|---|---|
![]() |
![]() BQ77908DBTR |
![]() Texas Instruments |
![]() Battery Management Stand-Alone Mul-Cell LiIon/Poly Prec Prot |
![]() Data Sheet |
![]() Negotiable |
|
||||||||||||
| Image | Part No | Mfg | Description | ![]() |
Pricing (USD) |
Quantity | ||||||||||||
![]() |
![]() BQ77908ADBT |
![]() Texas Instruments |
![]() Battery Management Multi-Cell Li-Ion Poly Prec Protector |
![]() Data Sheet |
![]()
|
|
||||||||||||
![]() |
![]() BQ77908AEVM-001 |
![]() Texas Instruments |
![]() Power Management Modules BQ77908AEVM-001 Eval Mod |
![]() Data Sheet |
![]()
|
|
||||||||||||
![]() |
![]() BQ77908DBT |
![]() Texas Instruments |
![]() Battery Management Stand-Alone Mul-Cell LiIon/Poly Prec Prot |
![]() Data Sheet |
![]() Negotiable |
|
||||||||||||
![]() |
![]() BQ77908DBTR |
![]() Texas Instruments |
![]() Battery Management Stand-Alone Mul-Cell LiIon/Poly Prec Prot |
![]() Data Sheet |
![]() Negotiable |
|
||||||||||||
![]() |
![]() BQ77908EVM-001 |
![]() Texas Instruments |
![]() Power Management IC Development Tools bq77908EVM Eval Mod |
![]() Data Sheet |
![]() Negotiable |
|
||||||||||||
![]() |
![]() BQ77910ADBT |
![]() Texas Instruments |
![]() Battery Management 4-10 Cell Prec Prot for Li-Ion Chem |
![]() Data Sheet |
![]()
|
|
||||||||||||
(Hong Kong)













