Product Summary
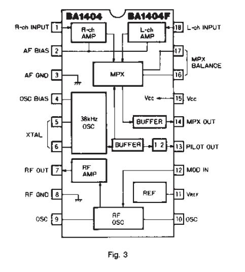
The BA1404F is a monolithic FM stereo transmitter. The BA1404F contains a stereo modulator, an FM modulator, and an RF amplifier. The stereo modulator creates a stereo composite signal from a 38 KHz quartz controlled frequency. The applications of the BA1404F include FM stereo transmitters and wireless microphones.
Parametrics
BA1404F absolute maximum ratings: (1)Supply voltage: 3.6V; (2)Power dissipation: 500mW; (3)Operating temperature range: -25℃ to 70℃; (4)Storage temperature range: -50℃ to 125℃.
Features
BA1404F features: (1)Low voltage, low power design; (2)Stereo modulator, FM modulator, and transmitter implemented on a single chip; (3)Few external components required; (4)High separation (45dB type).
Diagrams

![]() |
![]() BA1442A |
![]() Other |
![]() |
![]() Data Sheet |
![]() Negotiable |
|
||||||
![]() |
![]() BA1448S |
![]() Other |
![]() |
![]() Data Sheet |
![]() Negotiable |
|
||||||
![]() |
![]() BA1450S |
![]() |
![]() IC AUDIO AM/FM TUNER 8V SDIP24 |
![]() Data Sheet |
![]()
|
|
||||||
![]() |
![]() BA1451F |
![]() Other |
![]() |
![]() Data Sheet |
![]() Negotiable |
|
||||||
![]() |
![]() BA1451F-E2 |
![]() |
![]() IC AUDIO AM/FM TUNER 8V SOP24 TR |
![]() Data Sheet |
![]()
|
|
||||||
![]() |
![]() BA14741 |
![]() |
![]() IC OPAMP QUAD 18V LO NOISE DIP14 |
![]() Data Sheet |
![]()
|
|
||||||
(Hong Kong)











