Product Summary
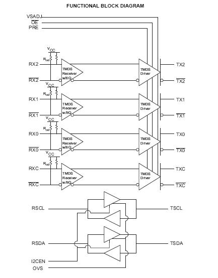
The TMDS141RHAR is an HDMI hider. It is designed to accommodate a 1-m HDMI cable between a HDMI connector and a receiver. The internal cable causes signal distortion to high-speed TMDS signals, as well as increasing capacitance to the DDC channel. The TMDS141RHAR contains four TMDS repeaters to transmit digital content with signaling rates of up to 2.25-Gbps, and an I2C repeater to link extended display identification data (EDID) reading and high-bandwidth digital content protection (HDCP) key exchange under I2C standard mode operations. The applications of the TMDS141RHAR include Digital TV, DVD Player, Set-Top Box, Audio Video Receiver, Digital Projector, DVI or HDMI cable.
Parametrics
TMDS141RHAR absolute maximum ratings: (1)VCC Supply voltage range(2): –0.5 V to 4 V; (2)RX, RX: 2.0 V to 4 V; (3)Voltage range TX, TX, PRE, VSADJ, OE, I2CEN, OVS, HPDn: –0.5V to 4 V; (4)RSCL, RSDA, TSCL, TSDA: –0.5 V to 6 V; (5)RX, RX: ±6 kV; (6)Human body model(3) Electrostatic All pins: ±4kV; (7)discharge Charged-device model(4) (all pins): ±1500V; (8)Machine model (5) (all pins): ± 200V; (9)Continuous power dissipation: 839.7mW.
Features
TMDS141RHAR features: (1)Supports 2.25 Gbps Signaling Rate for 480i/p, 720i/p, and 1080i/p Resolution to 12-Bit Color Depth; (2)Compatible with HDMI 1.3a; (3)40-Pin QFN Package (RHA); (4)Integrated Receiver Termination; (5)ROHS Compatible and 260°C Reflow Rated; (6)8-dB Equalizer Compensates Losses from 5-m or Longer HDMI Cables; (7)Selectable Output De-Emphasis Supports 1-m HDMI Transmission; (8)High Impedance Outputs When Disabled.
Diagrams

| Image | Part No | Mfg | Description | ![]() |
Pricing (USD) |
Quantity | ||||||||||||
|---|---|---|---|---|---|---|---|---|---|---|---|---|---|---|---|---|---|---|
![]() |
![]() TMDS141RHAR |
![]() Texas Instruments |
![]() Display Interface IC HDMI Hider |
![]() Data Sheet |
![]()
|
|
||||||||||||
![]() |
![]() TMDS141RHARG4 |
![]() Texas Instruments |
![]() Display Interface IC HDMI Hider |
![]() Data Sheet |
![]()
|
|
||||||||||||
(Hong Kong)









