Product Summary
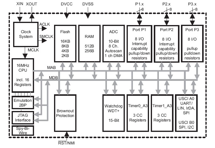
The MSP430G2533IPW20R is an ultra-low-power microcontroller. It consists of several devices featuring different sets of peripherals targeted for various applications. The architecture, combined with five low-power modes, is optimized to achieve extended battery life in portable measurement applications. The MSP430G2533IPW20R features a powerful 16-bit RISC CPU, 16-bit registers, and constant generators that contribute to maximum code efficiency. The digitally controlled oscillator (DCO) allows wake-up from low-power modes to active mode in less than 1 μs. Typical applications of the MSP430G2533IPW20R include low-cost sensor systems that capture analog signals, convert them to digital values, and then process the data for display or for transmission to a host system.
Parametrics
MSP430G2533IPW20R absolute maximum ratings: (1)Voltage applied at VCC to VSS: –0.3 V to 4.1 V; (2)Voltage applied to any pin(2): –0.3 V to VCC + 0.3 V; (3)Diode current at any device pin: ±2mA; (4)Unprogrammed device: –55℃ to 150℃; (5)Storage temperature range, Tstg(3) Programmed device: –40℃ to 85℃.
Features
MSP430G2533IPW20R features: (1)Low Supply-Voltage Range: 1.8 V to 3.6 V; (2)Ultra-Low Power Consumption; (3)Five Power-Saving Modes; (4)Ultra-Fast Wake-Up From Standby Mode in Less Than 1μs; (5)16-Bit RISC Architecture, 62.5-ns Instruction Cycle Time; (6)Basic Clock Module Configurations; (7)Two 16-Bit Timer_A With Three Capture/Compare Registers; (8)Up to 24 Touch-Sense-Enabled I/O Pins; (9)Universal Serial Communication Interface (USCI); (10)10-Bit 200-ksps Analog-to-Digital (A/D) Converter With Internal Reference, Sample-and-Hold, and Autoscan; (11)Brownout Detector; (12)Serial Onboard Programming, No External Programming Voltage Needed, Programmable Code Protection by Security Fuse; (13)On-Chip Emulation Logic With Spy-Bi-Wire Interface.
Diagrams

| Image | Part No | Mfg | Description | ![]() |
Pricing (USD) |
Quantity | ||||||||
|---|---|---|---|---|---|---|---|---|---|---|---|---|---|---|
![]() |
![]() MSP430G2533IPW20R |
![]() Texas Instruments |
![]() 16-bit Microcontrollers (MCU) Mixed Signal MCU |
![]() Data Sheet |
![]()
|
|
||||||||
| Image | Part No | Mfg | Description | ![]() |
Pricing (USD) |
Quantity | ||||||||
![]() |
![]() MSP4120 |
![]() Other |
![]() |
![]() Data Sheet |
![]() Negotiable |
|
||||||||
![]() |
![]() MSP4200 |
![]() Other |
![]() |
![]() Data Sheet |
![]() Negotiable |
|
||||||||
![]() |
![]() MSP430×11× |
![]() Other |
![]() |
![]() Data Sheet |
![]() Negotiable |
|
||||||||
![]() |
![]() MSP430×11×2 |
![]() Other |
![]() |
![]() Data Sheet |
![]() Negotiable |
|
||||||||
![]() |
![]() MSP430×12×2 |
![]() Other |
![]() |
![]() Data Sheet |
![]() Negotiable |
|
||||||||
![]() |
![]() MSP430×21×1 |
![]() Other |
![]() |
![]() Data Sheet |
![]() Negotiable |
|
||||||||
(Hong Kong)










