Product Summary
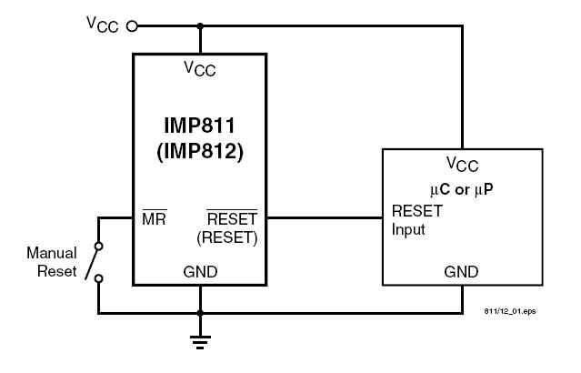
The IMP811SEU is a 4-Pin μP Voltage Supervisor with Manuall Reset. The IMP811SEU is designed to monitor voltage levels of 3.0V, 3.3V and 5.0V power supplies in low-power microprocessor (μP), microcontroller (μC) and digital systems. Each features a debounced manual reset input. The IMP811SEU is improved drop-in replacements for the Maxim IMP811SEU with extended temperature specifications to 105℃. The applications of the IMP811SEU include Computers and controllers, embedded controllers, Battery operated systems, Intelligent instruments, Wireless communication systems, PDAs and handheld equipment.
Parametrics
IMP811SEU absolute maximum ratings: (1)VCC:–0.3V to 6.0V; (2)RESET, RESET and MR:–0.3V to (VCC + 0.3V); (3)Input Current at VCC and MR: 20mA; (4)Output Current: RESET or RESET: 20mA; (5)Rate of Rise at VCC: 100V/μs; (6)Power Dissipation (TA= 70℃): 20mW (Derate SOT-143 4mW/℃ above 70℃); (7)Operating Temperature Range: –40℃ to 105℃; (8)Storage Temperature Range: –65℃ to 160℃; (9)Lead Temperature (soldering, 10 sec): 300℃.
Features
IMP811SEU features: (1)Improved Maxim MAX811/MAX812 replacement; (2)Specified to 105℃; (3)New 4.0V threshold option; (4)6μA supply current; (5)Monitor 5V, 3.3V and 3V supplies; (6)Manual reset input; (7)140ms min. reset pulse width; (8)Guaranteed over temperature; (9)Active-LOW reset valid with 1.1V supply (IMP811); (10)Small 4-pin SOT-143 package; (11)No external components; (12)Power-supply transient-immune design.
Diagrams

![]() |
![]() IMP802L |
![]() Other |
![]() |
![]() Data Sheet |
![]() Negotiable |
|
||||
![]() |
![]() IMP803 |
![]() Other |
![]() |
![]() Data Sheet |
![]() Negotiable |
|
||||
![]() |
![]() IMP803IMA/T |
![]() Other |
![]() |
![]() Data Sheet |
![]() Negotiable |
|
||||
![]() |
![]() IMP8-1D0-1E0-1E0-1L0-4LL0-4QD-20-A |
![]() |
![]() IMP CONFIGURABLE POWER SUPPLY |
![]() Data Sheet |
![]() Negotiable |
|
||||
![]() |
![]() IMP8-1D1-1D1-1L1-4ED-4EG-4LL-00-A |
![]() |
![]() IMP CONFIGURABLE POWER SUPPLY |
![]() Data Sheet |
![]() Negotiable |
|
||||
![]() |
![]() IMP8-1E-1L-1L-03-A |
![]() |
![]() IMP CONFIGURABLE POWER SUPPLY |
![]() Data Sheet |
![]() Negotiable |
|
||||
(Hong Kong)









