Product Summary
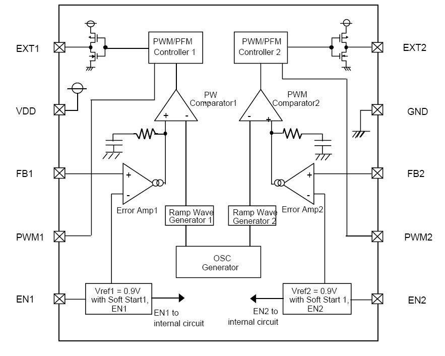
The CL1101 is a Step-up DC/DC Controller. With 0.9V (±2%) of standard voltage supply internal, and using externally connected components, output voltage can be set freely on both DC/DC controllers between 1.5V to 30V. With a 180 kHz frequency, the size of the external components can be reduced. 300 kHz and 500 kHz switching frequencies are also available as custom-designed products. The CL1101 can be switched between PWM control and PWM/PFM automatic switching control using external signals. Control switches from PWM to PFM during light loads when automatic switching is selected and the series is highly efficient from light loads to large output currents. Noise is easily reduced with PWM control since the switching frequency is fixed. The CL1101 provides the option of being able to select the control suited to the application. The applications of the CL1101 include PDAs, Palm top computers, Portable Audio Systems, Various Multi-function Power Supplies.
Parametrics
CL1101 absolute maximum ratings: (1)VDD Pin Voltage: -0.3 to 12V; (2)FB1, 2 Pin Voltage: -0.3 to 12V; (3)EN1, 2 Pin Voltage VEN: -0.3 to 12V; (4)PWM1,2 Pin Voltage: -0.3 to 12V; (5)EXT1, 2 Pin Voltage: -0.3V to VDD +0.3V; (6)EXT1, 2 Pin Current: ±100mA; (7)Power Dissipation: 150mW; (8)Operating Ambient Temperature: -40 to +85℃; (9)Storage Temperature: -55 to +125℃.
Features
CL1101 features: (1)2ch DC/DC Controller (Step-up + Step-up); (2)Input Voltage Range 0.9V to 10.0V; (3)Output Voltage Externally Set-Up; (4)Switching Frequency 180kHz (±15%); (5)Max Duty Ratio 80% (TYP.); (6)PWM, PWM/PFM Switching Control; (7)High Efficiency 83% (TYP.); (8)MSOP-10 Package.
Diagrams

![]() |
![]() CL1108-2-50TR-R |
![]() Cooper Bussmann |
![]() Power Inductors CL1108400nH10A 2-PhaseSMT |
![]() Data Sheet |
![]() Negotiable |
|
||||||||||||
![]() |
![]() CL1108-3-50TR-R |
![]() Cooper Bussmann |
![]() Power Inductors CL1108400nH10A 3-PhaseSMT |
![]() Data Sheet |
![]() Negotiable |
|
||||||||||||
![]() |
![]() CL1108-4-50TR-R |
![]() Cooper Bussmann |
![]() Power Inductors CL1108400nH10A 4-PhaseSMT |
![]() Data Sheet |
![]()
|
|
||||||||||||
![]() |
![]() CL1108-5-50TR-R |
![]() Cooper Bussmann |
![]() Power Inductors 4-PHASE400nH10A SMT |
![]() Data Sheet |
![]() Negotiable |
|
||||||||||||
![]() |
![]() CL111000 |
![]() Souriau |
![]() Standard Circular Connectors #1 UNSEALED BACKNUT |
![]() Data Sheet |
![]()
|
|
||||||||||||
![]() |
![]() CL111101 |
![]() Souriau |
![]() Standard Circular Connectors 4P Sckt Backnut Sz 1 Sealed |
![]() Data Sheet |
![]()
|
|
||||||||||||
(Hong Kong)










