Product Summary
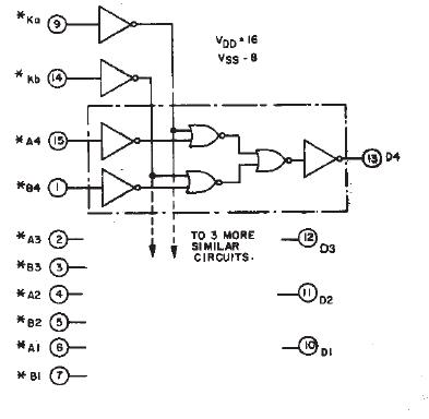
The CD4019BE is a CMOS Quad AND/OR Select Gate. It consists of four AND/OR select gate configurations, each consisting of two 2-input AND gates driving a single 2-input OR gate. The CD4019BE is supplied in 16-lead dual-in-line plastic packages. The applications of the CD4019BE include AND-OR select gating, shift-right/shift-left registers, true/complement selection, AND/OR/Exclusive-OR selection.
Parametrics
CD4019BE absolute maximum ratings: (1)DC supply voltage range: -0.5V to +20V; (2)Input voltage range, all inputs: -0.5V to VDD+0.5V; (3)DC input current, any one input: ±10mA; (4)Power Dissipation per package: 500mW; (5)Device dissipation per output transistor: 100mW; (6)Operating temperature range: -55℃ to +125℃; (7)Storage Temperature range: -65℃ to +150℃; (8)Lead temperature: 265℃.
Features
CD4019BE features: (1)Medium speed operation; (2)Standardized, symmetrical output characteristics; (3)100% tested for quiescent current at 20V; (4)Maximum input current of 1μA at 18V over full package temperature range: 100nA at 18V and 25℃; (5) Noise margin; (6) 5V, 10V and 15V parametric ratings.
Diagrams

| Image | Part No | Mfg | Description | ![]() |
Pricing (USD) |
Quantity | ||||||||||||
|---|---|---|---|---|---|---|---|---|---|---|---|---|---|---|---|---|---|---|
![]() |
![]() CD4019BE |
![]() Texas Instruments |
![]() Gates (AND / NAND / OR / NOR) Quad AND/OR |
![]() Data Sheet |
![]()
|
|
||||||||||||
![]() |
![]() CD4019BEE4 |
![]() Texas Instruments |
![]() Gates (AND / NAND / OR / NOR) Quad AND/OR |
![]() Data Sheet |
![]()
|
|
||||||||||||
(Hong Kong)









