Product Summary
The SKKD81 06 is a Rectifier Diode Module. The appplications of the device include non-controllable rectifiers for AC/AC converter, line rectifiers for transisotrized AC motor controllers and field supply for DC motor.
Parametrics
SKKD81 06 absolute maximum ratings: (1)ITAV: 82A; (2)ID: 70A; (3)IRMS: 135A; (4)ITSM: 2000A; (5)i2t: 20000 A2s; (6)VT: 1.55V; (7)Tvj: -40 to 125℃.
Features
SKKD81 06 features: (1)Heat transfer through aluminium oxide ceramic isolated metal basepalte; (2)Hard soldered joints for high reliability; (3)UL recognized, file no E 63 532.
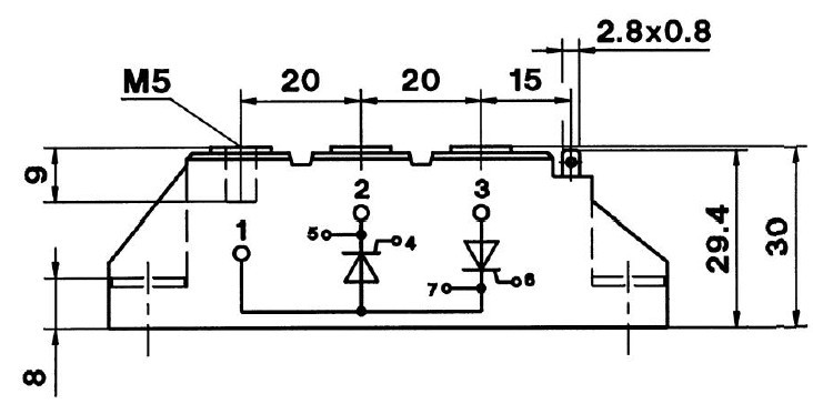
Diagrams

 (Hong Kong)
 (Hong Kong) 
                         
                        
 
                                    




