Product Summary
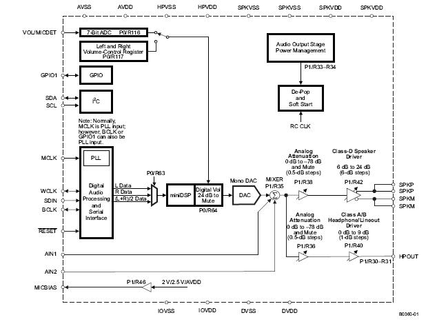
The TLV320DRC3120IRHBR is a low-power, highly integrated, high-performance mono DAC with 24-bit mono playback. The device integrates several analog features, such as a microphone bias, headphone drivers, and a mono speaker driver capable of driving a 4-Ω load. The TLV320DRC3120IRHBR has a fully programmable miniDSP for digital audio processing. The applications of the TLV320DRC3120IRHBR include Portable Audio Devices, eBook, and Portable Navigation Devices.
Parametrics
TLV320DRC3120IRHBR absolute maximum ratings: (1)AVDD to AVSS: –0.3 to 3.9 V; (2)DVDD to DVSS: –0.3 to 2.5 V; (3)HPVDD to HPVSS: –0.3 to 3.9 V; (4)SPKVDD to SPKVSS: –0.3 to 6 V; (5)IOVDD to IOVSS: –0.3 to 3.9 V; (6)Digital input voltage IOVSS: – 0.3 to IOVDD + 0.3 V; (7)Analog input voltage AVSS: – 0.3 to AVDD + 0.3 V; (8)Operating temperature range: –40 to 85℃; (9)Storage temperature range: –55 to 150℃; (10)Junction temperature (TJ Max): 105℃; (11)QFN package RθJA Thermal impedance (with thermal pad soldered to board): 35℃/W.
Features
TLV320DRC3120IRHBR features: (1)Mono Audio DAC With 95-dB SNR; (2)Instruction-Programmable Embedded miniDSP; (3)Supports 8-kHz to 192-kHz Sample Rates; (4)Mono Class-D BTL Speaker Driver (2.5 W Into 4 Ω or 1.6 W Into 8 Ω); (5)Mono Headphone/Lineout Driver; (6)Two single-Endec Inputs With Output Mixing and level control; (7)Microphone Bias; (8)Digital Sine-Wave Generator for Beeps and Clicks (PRB_P25); (9)Pin Control or Register Control for Digital Playback Volume-Control Settings; (10)I2C Control With Register Auto-Increment; (11)Full Power-Down Control; (12)5mm × 5mm 32-QFN Package.
Diagrams

(Hong Kong)






