Product Summary
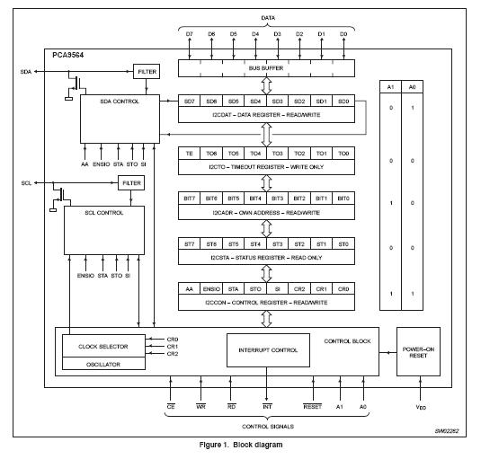
The PCA9564PW is a Parallel bus to I2C-bus controller designed in CMOS technology that serves as an interface between most standard parallel-bus microcontrollers/microprocessors and the serial I2C-bus and allows the parallel bus system to communicate bi-directionally with the I2C-bus. The PCA9564PW can operate as a master or a slave and can be a transmitter or receiver. Communication with the I2C-bus is carried out on a byte-wise basis using interrupt or polled handshake. The PCA9564PW controls all the I2C-bus specific sequences, protocol, arbitration and timing with no external timing element required. The applications of the PCA9564PW include Add I2C-bus port to controllers/processors that do not have one, Add additional I2C-bus ports to controllers/processors that need multiple I2C-bus ports, Higher frequency, lower voltage migration path for the PCF8584, Converts 8 bits of parallel data to serial data stream to prevent having to run a large number of traces across the entire PC board.
Parametrics
PCA9564PW absolute maximum ratings: (1)VDD Supply voltage: –0.3 to 4.6 V; (2)VI Voltage range (any input): –0.8 to 6.01 V; (3)II DC input current (any input): –10 to 10mA; (4)IO DC output current (any output): –10 to 10mA; (5)Ptot Total power dissipation: 300mW; (6)PO Power dissipation per output: 50mW; (7)Tamb Operating ambient temperature: –40 to +85℃; (8)Tstg Storage temperature: –65 to +150℃.
Features
PCA9564PW features: (1)Parallel-bus to I2C-bus protocol converter and interface; (2)Both master and slave functions; (3)Multi-master capability; (4)Internal oscillator reduces external components; (5)Operating supply voltage 2.3 V to 3.6 V; (6)5 V tolerant I/Os; (7)Standard and fast mode I2C capable and compatible with SMBus; (8)ESD protection exceeds 2000 V HEM per JESD22-A114, 200 V MM per JESD22-A115, and 1000 V CDM per JESD22-C101; (9)Latch-up testing is done to JEDEC Standard JESD78 which exceed 100 mA.; (10)Packages offered: DIP20, SO20, TSSOP20, HVQFN20.
Diagrams

| Image | Part No | Mfg | Description | ![]() |
Pricing (USD) |
Quantity | ||||||||||||
|---|---|---|---|---|---|---|---|---|---|---|---|---|---|---|---|---|---|---|
![]() |
![]() PCA9564PW,112 |
![]() NXP Semiconductors |
![]() Universal Bus Functions 400KHZ I2C BUS CTRLR |
![]() Data Sheet |
![]()
|
|
||||||||||||
![]() |
![]() PCA9564PW,118 |
![]() NXP Semiconductors |
![]() Universal Bus Functions 400 KHZ I2C BUS |
![]() Data Sheet |
![]()
|
|
||||||||||||
![]() |
![]() PCA9564PW-T |
![]() NXP Semiconductors |
![]() Universal Bus Functions 400 KHZ I2C BUS CONTROLLER |
![]() Data Sheet |
![]() Negotiable |
|
||||||||||||
(Hong Kong)










