Product Summary
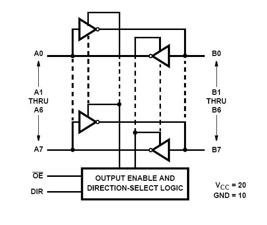
The CD74HCT640D is a silicon-gate CMOS three-state bidirectional non-inverting buffer. It is intended for two-way asynchronous communication between data buses. The CD74HCT640D has high drive current outputs which enable high-speed operation when driving large bus capacitances. These circuits possess the low power dissipation of CMOS circuits, and have speeds comparable to low power Sckottky TTL circuits. The CD74HCT640D can drive 15 LSTTL loads.
Parametrics
CD74HCT640D absolute maximum ratings: (1)DC Supply Voltage, VCC: -0.5V to 7V; (2)DC Input Diode Current, IIK For VI <-0.5V or VI >VCC + 0.5V: ±20mA; (3)DC Output Diode Current, IOK For VO <-0.5V or VO >VCC + 0.5V: ±20mA; (4)DC Drain Current, per Output, IO For -0.5V< VO< VCC + 0.5V: ±25mA; (5)DC Output Source or Sink Current per Output Pin, IO For VO >-0.5V or VO <VCC + 0.5V: ±25mA; (6)DC VCC or Ground Current, ICC: ±50mA.
Features
CD74HCT640D features: (1)Buffered Inputs; (2)Three-State Outputs; (3)Applications in Multiple-Data-Bus Architecture; (4)Fanout (Over Temperature Range) Standard Outputs: 10 LSTTL Loads; (5)Bus Driver Outputs: 15 LSTTL Loads; (6)Wide Operating Temperature Range: -55℃ to 125℃; (7)Balanced Propagation Delay and Transition Times; (8)Significant Power Reduction Compared to LSTTL Logic ICs; (9)HC Types: 2V to 6V Operation; (10)High Noise Immunity: NIL = 30%, NIH = 30% of VCC at VCC = 5V; (11)HCT Types: 4.5V to 5.5V Operation; (12)Direct LSTTL Input Logic Compatibility, VIL= 0.8V (Max), VIH =2V (Min); (13)CMOS Input Compatibility, Il ≤1μA at VOL, VOH.
Diagrams

![]() |
![]() CD746A |
![]() Other |
![]() |
![]() Data Sheet |
![]() Negotiable |
|
||||||||||||
![]() |
![]() CD74AC00 |
![]() Other |
![]() |
![]() Data Sheet |
![]() Negotiable |
|
||||||||||||
![]() |
![]() CD74AC00E |
![]() Texas Instruments |
![]() Gates (AND / NAND / OR / NOR) Quad 2-Input |
![]() Data Sheet |
![]()
|
|
||||||||||||
![]() |
![]() CD74AC00EE4 |
![]() Texas Instruments |
![]() Gates (AND / NAND / OR / NOR) Quad 2-Input NAND Gate |
![]() Data Sheet |
![]()
|
|
||||||||||||
![]() |
![]() CD74AC00M |
![]() Texas Instruments |
![]() Gates (AND / NAND / OR / NOR) Quad 2-Input |
![]() Data Sheet |
![]()
|
|
||||||||||||
![]() |
![]() CD74AC00M96 |
![]() Texas Instruments |
![]() Gates (AND / NAND / OR / NOR) Quad 2-Input |
![]() Data Sheet |
![]()
|
|
||||||||||||
(Hong Kong)










